邳州信息网

标题: 「资讯」AMD GPU新专利曝光:未来RDNA显卡可集成机器学习专用芯片 [打印本页]

作者: 较短比长    时间: 2021-12-17 08:33
标题: 「资讯」AMD GPU新专利曝光:未来RDNA显卡可集成机器学习专用芯片
与NVIDIA的显卡已经用上AI人工智能及深度学习ML相比,AMD旗下的GPU加速卡依然偏重传统计算,最新的Insinct MI200系列也是如此,不过AMD未来的RDNA架构显卡会大改,集成专用的APD单元,专门加速ML性能。

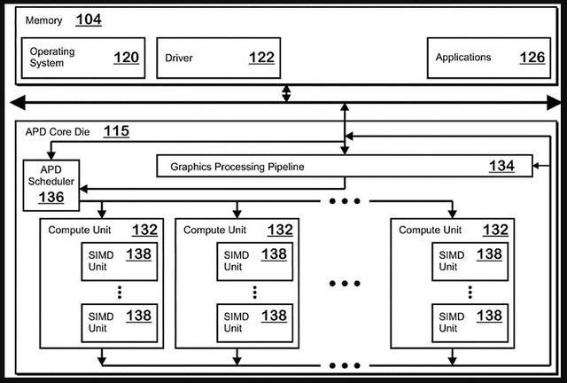
日前美国商标局公布了AMD最新的GPU专利,AMD描述了一种新的架构,可以将额外的芯片集成在GPU顶部,称之为APD(accelerated processing device)加速处理器,主要用于提升ML性能,内部包括内存及1个或者多个ML加速器。




通过这种方式,AMD表示该架构可以获得ML性能优势,内存可以配置为缓存或者直接访问的内存模式,还可以包括MLU逻辑运算单元,可以执行矩阵算法以提高ML性能。

简单来说,AMD做ML加速器的思路跟NVIDIA是不同的,后者是把ML做到了现在的GPU内核中,而AMD则是寻求通过专用单元的方式来提高性能,这样做性能优势比较明显。






考虑到AMD在小芯片设计上的丰富经验,显然GPU中也会堆栈更多的单元了,此前AMD在锐龙/霄龙处理器中实现了计算+IO核心堆栈,即将发布的3D V-Cache版锐龙/霄龙则是增加了缓存单元,GPU中增加ML单元也是顺理成章的。

这个GPU专利无疑会用于未来的RDNA显卡,目前还不确定是否赶得上明年底的RDNA3架构,要么就是再等一代到RDNA4架构显卡了。

·END·

作者: 溃不成军betray    时间: 2021-12-17 08:34
amd将逝去




欢迎光临 邳州信息网 (https://www.pzxxw.com/) Powered by Discuz! X3.4